Microsoft Edge翻译功能异常 疑似部分地区无法连接微软服务器
据5L科技网友反馈,最近Microsoft Edge浏览器自带的翻译功能似乎不太好用,经常出现无法翻译的情况,但又不是每次都不能用。
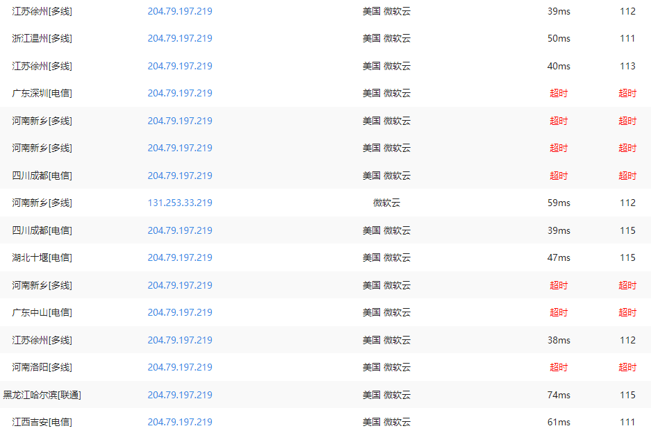
5L科技搜索微软官方社区似乎发现问题的端倪:edge.microsoft.com等域名似乎出现连通性问题,如果用户所在地区或使用的网络无法访问Microsoft Edge相关域名的话那就无法使用翻译。
使用ping工具可以发现该域名使用的是Microsoft Azure美国服务器,所以出现断断续续的连接问题,这应该是无法正常使用翻译功能的主要原因。
多次测试可以观察到广东和河南出现连接中断的概率更高,恰好反馈问题的网友就是广东的,这个问题可能换DNS也没什么效果,目前没有什么好的解决办法。








